Sony idzie na całość. To może być PlayStation 5 Pro
Firma Sony złożyła bardzo ciekawy patent, który prezentuje skalowalną konsolę. Czy tak będzie wyglądać PlayStation 5 Pro?
 
    Minął już rok od premiery konsoli PlayStation 5. Trudno ostatnie 12 miesięcy uznać za wielki sukces Sony. Chociaż sprzedaż jest dobra, to mogłaby być jeszcze lepsza. Urządzeń brakuje w sklepach, a dostępne modele znikają na pniu. Nie najlepiej jest też z grami. Kilka dużych premier zostało opóźnionych i wybór nie jest zbyt szeroki, chociaż to akurat problem każdej nowej konsoli.
Pomimo tego niemal pewne jest, że w końcu Sony zaprezentuje PlayStation 5 w wersji Pro. W przypadku poprzedniej generacji taka taktyka okazała się słuszna, więc już chyba tylko kompletnie załamanie się rynku układów scalonych mogłoby pokrzyżować plany Japończyków. Być może niedawno odkryty patent zdradza częściowo, co może oferować PS5 Pro.
 
     
     
    PlayStation 5 Pro z dwoma GPU?
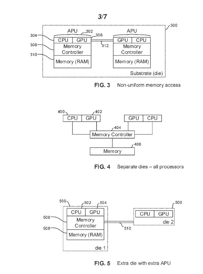
Chociaż dopiero teraz został zauważony, to już w 2020 roku Sony złożyło wniosek patentowy, w którym opisuje ciekawą konsolę. Z dokumentu dowiadujemy się na temat wielu różnych możliwości budowy takiego urządzenia.
Sony Interactive Entertainment Filed New Patent Went Live 8th December 2021:
— @Zuby_Tech (@Zuby_Tech) December 12, 2021
"Scalable Game Console CPU/GPU Design For Home Console And Cloud Gaming"
Taka konsola mogłaby mieć zintegrowane dwa układy SoC, podwajając zarówno moc GPU, jak i CPU. Tutaj możliwości są dwie — oba układy mogłoby działać osobno, połączone jakiegoś rodzaju magistralą lub być zintegrowane w ramach innego, większego chipu, gdzie jednocześnie podwajałaby się ilość pamięci RAM. Inny wariant to dodatkowy SoC, ale już bez RAM-u.
 
    To oczywiście tylko patent, który może opisywać teoretyczne urządzenie. Nie jest powiedziane, że Sony rzeczywiście zamierza zbudować tego typu konsole. Z drugiej strony PlayStation 5 Pro z dwoma układami graficznymi byłby czymś rewolucyjnym. Pytanie brzmi — czy inżynierowie Sony zdołaliby w takiej sytuacji okiełznać zużycie energii i przede wszystkim wydzielane ciepło? Miejmy nadzieję, że kiedyś się tego dowiemy.
Jednak jeśli miałbym obstawiać. To PlayStation 5 Pro będzie konsolą bardziej tradycyjną, z jednym mocniejszym SoC. To po prostu dużo łatwiejsze i tańsze do zbudowania, a przez to bardziej opłacalne.
 
     
     
     
        
        